simulazione
Indice
Simulazione seconda prova 2018
Traccia
Parte prima
Punto 1
Ingressi:
- barriera fotoelettrica: LED e fototransistor, quando la base del FT è colpita dalla luce il FT satura producendo un segnale alto o basso, alim. 24V DC, range richiesto: almeno 10 cm
- proximity induttivo: sensore a tre terminali che rileva oggetti metallici; range molto ridotto, deve essere ben posizionato; alimentazione 24V DC; segnale in uscita alto o basso (uscita PNP o NPN)
- pulsanti: contatti monostabili; solitamente NA per marcia (consenso) e NC per arresto (blocco)
Uscite:
- motore nastro: asincrono (monofase o trifase) di potenza adeguata comandato direttamente dal contattore (no regolazione di velocità); motoriduttore per ridurre la velocità
- pistone pneumatico monostabile azionato da aria compressa (serve compressore e circuito di distribuzione) comandato da elettrovalvola 24V DC; prevedere un tempo di almeno 1s per il completamento sicuro del movimento
- lampada segnalazione a bassa tensione 24V DC
- segnalatore acustico a bassa tensione 24V DC
Punto 2
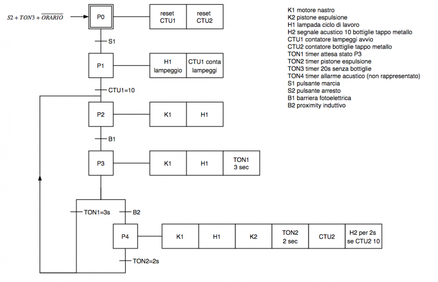
Algoritmo con SFC:
Osservazioni:
- TON1 e TON2 dovrebbero essere più brevi, hanno quei valori per poter osservare il corretto funzionamento in simulazione
- il passo P3 si potrebbe saltare perché B1 non influisce sullo stato del sistema se non facendo partire il timer TON3; eliminandolo non serve più TON1
- in alternativa all'SFC proposto si possono fare anche due cicli, uno per il nastro principale e uno per la gestione del magazzino 2
SFC semplificato:
Punto 3
Programma in ladder per PLC Siemens S7-1200
- implementazione dell'algoritmo SFC: zip con archivio zap del progetto TIA Portal (contiene anche sorgente SFC per draw.io e immagine png)
- soluzione con programmazione lineare (non SFC): zip con progetto TIA Portal
Soluzione non SFC (nel segmento 1, non rappresentato, la lettura dell'orologio hardware):
Punto 4
Contatore CTUD che:
- incrementa il conteggio con B1
- decrementa con B2
- si resetta alle 06:00
Punto 5
Sensore di prossimità capacitivo (che sente sia plastica che metallo) da posizionare prima del magazzino 1.
Parte seconda
Quesito 1
Quesito 2
- velocità proporzionale a frequenza
- verso di rotazione da quale delle due fasi è in anticipo
- rotazione relativa contando gli impulsi (nota la direzione) e conoscendo quanti impulsi per giro
Quesito 3
Vedi qui
Quesito 4
- collegamento: vedi qui e figura 26 unità 14-1 del libro di testo
- condizionamento: dal ponte 50mV con 5kg → primo stadio differenziale (amplifica e riferisce a massa il segnale flottante) guadagno e secondo stadio non invertente; guadagno totale 100 (10 e 10 per i due stadi con trimmer di regolazione sul secondo per il guadagno); vedi area di progetto
simulazione.txt · Ultima modifica: da admin




