Indice
Simulazione seconda prova 2019
Testo della prova
Prima parte
Punto 1
Ipotesi cella di carico alimentata a 10V; a fondo scala (3,5Kg) la tensione differenziale in uscita è 125mV. Qui il circuito di riferimento con la tensione differenziale in uscita. Il guadagno richiesto per ottenere 5V a fondo scala è:
`A = v_o/v_s= 5/0.125 = 40`
Per ottenerlo due possibili soluzioni:
- amplificatore differenziale con operazionale
- amplificatore per strumentazione
La seconda soluzione è migliore sotto tutti i punti di vista, vedi qui. Ipotizzando di usare un INA111 è sufficiente dimensionare la resistenza Rg con la formula:
`G = 1 + (50k Omega)/R_G`
quindi
`R_G =(50k Omega)/ (G-1) = (50k Omega)/(40-1) = 1.28k Omega`
Scegliendo una soluzione con amplificatore differenziale occorre scegliere le quattro resistenze - uguali a due a due - in modo che il rapporto sia 40, ad esempio 1k e 40k (39k + trimmer multigiro da 2k). In questo caso bisogna tarare il circuito per essere sicuri che, tenuto conto anche delle tolleranze, il rapporto 40 sia corretto. Oltre a questo la resistenza di ingresso offerta dal circuito non è infinita ed è diversa per il punto a potenziale maggiore e quello a potenziale minore.
Punto 2
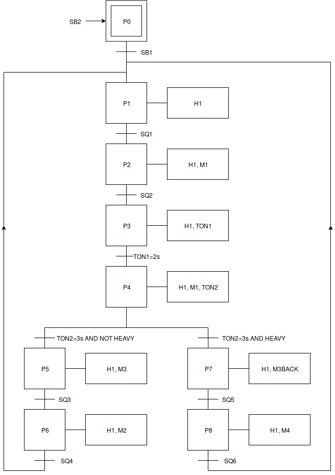
Un possibile diagramma a stati - SFC in questo caso - è questo:
Lo schema a blocchi rappresenterà un PLC mettendo in evidenza ingressi e uscite.
Otto ingressi digitali:
- pulsante SB1 con contatto NA
- pulsante SB2 con contatto NC
- finecorsa meccanici SQ1 fino a SQ6 con contatti NA (ma potevano essere fotocellule, proximity, ecc.)
Un ingresso analogico:
- segnale in tensione 0-5V dal circuito di condizionamento della cella di carico
Sei uscite digitali (a relé):
- lampada di segnalazione L1
- bobina dei contattori dei motori M1, M2, M4
- due bobine dei contattori per la marcia avanti e indietro del motore M3
Punto 3
Dal momento che non sono richieste particolari prestazioni e che data l'applicazione si può pensare che sia disponibile un sistema di alimentazione trifase si può utilizzare un motore asincrono trifase a quattro poli, con velocità attorno ai 1400 rpm.
Il dimensionamento del motore si fa calcolando velocità di rotazione e coppia per poi moltiplicarle ottenendo un valore di potenza che va maggiorato per tenere conto di vari fattori quali non idealità nei comportamenti delle varie parti in gioco, rendimenti, ecc.
Con la velocità del nastro e il raggio del rullo di traino si ottiene la velocità angolare del rullo (naturalmente bisogna convertire tutti i dati in modo da usare le UDM del Sistema Internazionale):
`omega = v/r = 0.2/0.05= 4 (rad)/s`
La stessa velocità espressa in giri al minuto vale:
`n=(omega*60)/(2 pi)= 38,2 rp\m`
Il rapporto di riduzione richiesto è:
`i = 1400/38.2 = 36.6`
ottenibile ad esempio con un riduttore a ingranaggi, che ha un rendimento molto alto.
Per il calcolo della potenza bisogna prima valutare la forza tangenziale. Questa è dovuta al fenomeno dell'attrito radente e si calcola moltiplicando il coefficiente di attrito per il peso di nastro e prodotto (vedere i link in fondo alla pagina). Nel nostro caso, trascurando il peso del nastro, si ottiene:
`F_u=f cdot P=f cdot mg= 0.2 cdot 3.5 cdot 9.81 = 6.87 N`
La coppia allora vale:
`C= F_u cdot r = 6.87 cdot 0.05 = 0.34 Nm`
e la potenza meccanica al rullo di traino si ottiene così:
`P = C omega = 0.34 cdot 4 = 1.37 W`
Questo valore va maggiorato per tenere conto di vari fattori di non idealità, rendimenti, ecc. E' comunque un valore molto basso dal momento che i motori asincroni di taglia più piccola partono comunque da potenze intorno ai 100W. Si sceglierà quindi un motore di questa taglia anche se risulterà senz'altro sovradimensionato.
Punto 4
Per passare dallo schema SFC al programma in ladder si usa la tecnica batch descritta qui.
Seconda parte
Due quesiti di elettronica:
- il primo è un monostabile con 555 (il secondo punto è spiegato a pagina 30 di questo capitolo del libro di elettronica di terza
- il secondo quesito nel paragrafo 4 del file linkato sopra (per onde sinusoidali invece conviene usare un oscillatore a ponte di Wien
Due quesiti di sitemi: boh?
Altro
Roba sul calcolo dei nastri:
- Calcolo sintetico Siegling Transilon Forbo (calcolo a pagina 16)
Altro:
- carrucola, argano, paranco: https://en.wikipedia.org/wiki/Pulley
- video di assemblaggio di un nastro trasportatore
- video di due produttori

