Indice
Simulazioni ministeriali 2019
Prima simulazione
Il 28 febbraio è uscita la prima simulazione del MIUR per la seconda prova di Automazione.
Osservazioni generali
La prova, che coinvolge le materie di Elettronica e Sistemi, è simile a quelle degli scorsi anni e prevede una prima parte con un problema di automazione più quattro quesiti, di cui due obbligatori. Il tema della prima parte è più affine alla materia di TPA che non alle altre due (questo è già capitato in anni precedenti, ad esempio nel 2017).
La prima parte non è troppo impegnativa ma, come al solito, mancano delle informazioni e ci sono delle ambiguità che costringono a fare delle ipotesi, possibilmente sensate o semplificative. Rispetto agli anni precedenti:
- non viene chiesto lo schema a blocchi con ingressi e uscite
- richiede esplicitamente l'uso del PLC e la codifica in un linguaggio per PLC
- richiede che l'algoritmo sia rappresentato con un diagramma di flusso o una macchina a stati (manca la dicitura “o altro linguaggio di propria conoscenza” che permetteva senza riserve di usare l'SFC)
I quesiti sono sempre un po' una lotteria: il programma delle materie è sterminato e spesso capita che l'argomento di un quesito non sia stato trattato (vedi prova 2018). In questi casi ovviamente la commissione ne tiene conto.
Prima parte
Elementi chiave del testo:
- movimentazione con nastro trasportatore, carroponte ed elettromagnete
- gestione temperatura e livello vasca con isteresi
- ciclo impianto automatico abilitato se temperatura e livello vasca ok
- attuatori: motori asincroni ed elettromagnete
- sensori: finecorsa carroponte e argano, termocoppia J e livello per la vasca
Punti richiesti:
- progettare un circuito di condizionamento per la termocoppia
- dimensionare il motore dell'argano
- rappresentare l'algoritmo
- codificare per PLC l'algoritmo
Punto 1
Per la termocoppia la soluzione più semplice è usare l'integrato AD594 della Analog Devices che compensa il giunto freddo e amplifica il segnale in modo da avere 10mV/°C (vedi risorse a fondo pagina). Alla temperatura più alta si avranno 4,6V compatibili con gli ingressi analogici del PLC. Il testo richiede 5V a 600°C quindi servirebbe un circuito che attenui il segnale dell'AD594 (altimenti si avranno 6V a 600°C) ma probabilmente non ne vale la pena considerato il range di temperature previste.
Nella sezione risorse in fondo alla pagina (secondo link) c'è un circuito alternativo che non usa un integrato dedicato ma un operazionale e un sensore integrato simile all'LM35 per la compensazione del giunto freddo.
Punto 2
Per dimensionare il motore scegliamo una tipologia di motore, ad esempio un MAT a 4 poli che avrà una velocità di circa 1500 rpm1), calcoliamo la velocità di sollevamento e verificare che sia “ragionevole.
Se consideriamo un MAT a 4 poli con velocità a vuoti di 1500 rpm la velocità della carrucola sarà:
`n_c=n_m / 20 = 1500/ 20 = 75 r\p\m`
che in radianti al secondo diventa:
`omega_c = (n_c * 2 * pi)/60 = (75*2*pi)/60 ~= 8 (rad)/s`
Con una carrucola di raggio 5cm la velocità di sollevamento del carico sarà:
`v = omega_c * r = 8 * 0,05 = 0,4 m/s`
Considerando una massa di 20kg e la costante di accelerazione gravitazionale g, la potenza alla carrucola sarà:
`P_c=C * omega_c= F*r*omega_c = m*g*r*omega_c= 20*9,81*0,05*8 ~= 80 W`
La potenza minima del motore, tenendo conto del rendimento del riduttore, dovrà essere:
`P_m=P_c/eta = 80/(0,5)= 160 W`
Per sicurezza maggioriamo questo valore e scegliamo un motore da almeno 200W.
Punto 3 e 4
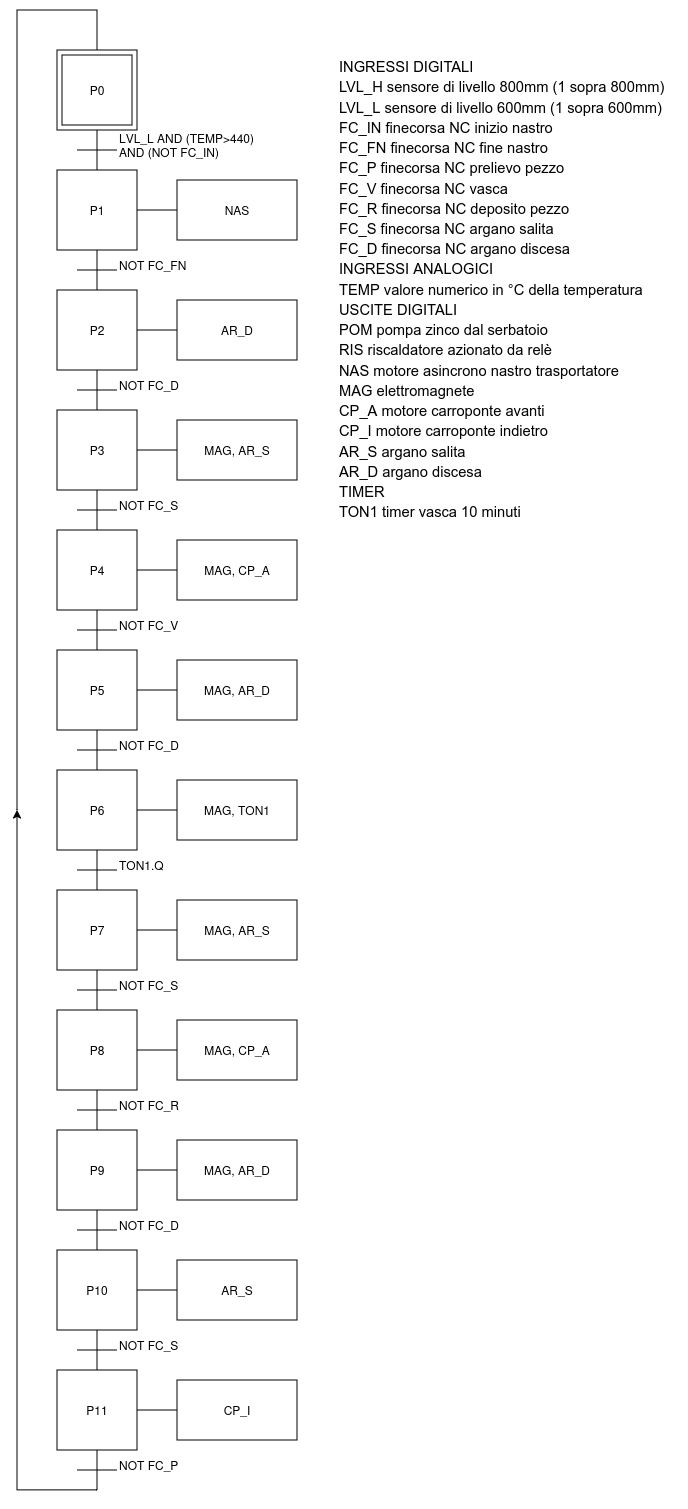
L'algoritmo non è complicato e il funzionamento è completamente automatico, senza emergenze o anomalie. Si fanno le seguenti ipotesi:
- tutti i finecorsa sono NC
- il segnale analogico del circuito di condizionamento della termocoppia viene acquisito dal PLC e scalato opportunamente; i valore della temperatura sarà contenuto in una variabile di tipo intero TEMP
- per semplicità non si sono considerati gli stati che introducono una pausa di uno o due secondi ogni volta che si fa l'inversione di un moto per evitare sforzi elettrici e meccanici (ad esempio nella discesa e salita dell'argano)
- per semplicità non si è tenuto conto del riposizionamento di argano e carroponte che sarebbe bene introdurre prima di partire col ciclo di lavorazione e si assume che questi siano già in posizione
- la temperatura dello zinco del serbatoio è gestita in maniera indipendente dal ciclo di lavorazione
- il livello dello zinco in vasca è gestito in maniera indipendente dal ciclo di lavorazione
- il ciclo di lavorazione parte se temperatura e livello sono superiori ai livelli minimi
Per la gestione della temperatura si prevedono due segmenti: uno attiva il riscaldatore quando la temperatura è inferiore a 440°C, l'altro lo disattiva superati i 460°C.
Per la gestione del livello si prevedono due segmenti: uno attiva la pompa quando la temperatura è superiore a 440°C e il livello è inferiore a 600mm, l'altro la disattiva quando il livello supera gli 800mm.
Il diagramma SFC seguente2) gestisce il ciclo di lavorazione.
Per il punto 4 basta applicare la tecnica batch e tradurre il diagramma SFC in ladder.
Seconda parte
- econder incrementale sul motore del nastro trasportatore con uscita analogica: generalità e conversione frequenza/tensione
- scelta sensori di livello per la vasca: contatti semplici con due sbarre conduttrici immerse fino ai due livelli richiesti
- inverter trifase: principio di funzionamento e PWM sinusoidale (quesito di elettronica)
- sistema con retroazione: FdT e errore a regime (quesito di sistemi)
Il primo quesito è strano perché se è vero che esistono encoder con uscita analogica è strano non sfruttare i contatori veloci del PLC per gestire direttamente il segnale digitale (o i due segnali in quadratura) generati dall'encoder. Ci sono tre strade:
- ipotizzare di usare ingressi HSC del PLC spiegando il perché
- scegliere a catalogo un encoder con uscita analogica
- usare un integrato per gestire la conversione frequenza-tensione (ad esempio l'LM331 descritto nella sezione 21D del libro di elettronica)
Per il secondo quesito la soluzione più semplice è quella di sfruttare il fatto che lo zinco è un metallo - quindi conduttore - e mettere semplicemente due elettrodi che risulteranno collegati quando lo zinco raggiunge il livello prestabilito. Questo comportamento è assimilabile a quello di un contatto NA.
Il terzo quesito rappresenta il circuito di principio di un convertitore di frequenza trifase. Si riconoscono un raddrizzatore trifase, il condensatore di livellamento, i 6 transistor con diodo di libera circolazione che, pilotati con segnali generati con modulazione PWM sinusoidale, permettono di ricostruire un sistema di tensione trifase con una frequenza a piacere. A questo proposito si guardi la simulazione di esempio fornita con Multisim (samples, power conversion, DC-AC).
Seconda simulazione
Il 2 aprile è uscita la seconda simulazione del MIUR per la seconda prova di Automazione.
Osservazioni generali
Si conferma l'impianto della prima simulazione. Ancora un problema da risolvere col PLC con dei punti che richiedono conoscenze di meccanica.
Prima parte
Il problema è tutto sommato semplice ma il disegno è poco leggibile e ci sono più informazioni di quelle richieste nei quattro punti.
Elementi chiave del testo:
- movimentazione del pezzo con due nastri azionati da MAT
- comando di tre espulsori pneumatici
- elettromagnete e fresa
- sistema di visione per la rilevazione di difetti con uscita TTL
- sistema di rilevazione dell'illuminazione ambientale con fotodiodi
Punti richiesti:
- progettazione di un circuito di condizionamento per fotodiodi
- il dimensionamento di un motore asincrono trifase (come nella prima simulazione)
- rappresentazione grafica dell'algoritmo di gestione del sistema con diagramma di flusso o macchina a stati (l'SFC ricade in questa categoria, presumibilmente)
- traduzione in ladder dell'algoritmo
Anche in questa prova, diversamente rispetto al passato, non viene richiesta una discussione su ingressi e uscite (ad esempio come adattare il segnale TTL agli ingressi del PLC) o una rappresentazione schematica del sistema.
Per il primo punto si può usare un circuito a due stadi con un sommatore invertente, che media i due segnali, e un amplificatore invertente che scala la tensione per ottenere il range desiderato (10V con 15uW)3).
Il secondo punto richiede il calcolo della velocità di rotazione e delle coppia corrispondente alla forza tangenziale dovuta all'attrito tra nastro e piano d'appoggio4). La velocità si calcola con:
`omega = v / r = (300 cdot 10^-3) / (50 cdot 10^-3) = 6 {rad}/s`
oppure direttamente facendo il rapporto tra velocità lineare e circonferenza (adattando le unità di misura se serve):
`n = (300 cdot 10^-3 * 60) / (2 pi cdot 50 cdot 10^-3)= 57 r\p\m`
La coppia si ottiene calcolando la forza tangenziale dovuta all'attrito con:
`F_t = P cdot mu_s= 150 cdot 0.3 = 45 N`
dove P è la forza peso e μ il coefficiente di attrito statico. La coppia si ottiene moltiplicando la forza per il raggio:
`C= F_t cdot r = 45 cdot 0.05 = 2.25 Nm`
quindi:
`P = omega cdot C = 6 cdot 2.25 = 13.5 W`
Per il terzo punto si propone un diagramma SFC (NB le frecce nei collegamenti tra i passi sono una svista, non vanno indicate!).
Nella figura le fotocellule sono indicate con FTC, il consenso sulla luminosità dell'ambiente è nel merker LIGHT, e il merker TTL contiene il un valore digitale che viene settato quando si attiva la telecamera CAM. Si sono fatte le seguenti ipotesi:
- se sono presenti difetti il segnale TTL della telecamera mantiene alto il suo valore per 3s
- il pezzo non raggiunge la fotocellula degli espulsori prima di 0,5s e la raggiunge prima di 3s
- gli espulsori sono comandati da cilindri pneumatici monostabili mantenuti attivi con un timer visto che non si parla esplicitamente di finecorsa
- si attiva il disco rotante per 15 secondi per avere la certezza che si compia almeno un giro completo
- il nastro 1 può ripartire solo dopo che il pezzo precedente è stato trattato (uscito dal nastro due o dal piatto per la fresatura)
La traduzione in ladder richiesta nel quarto punto è banale.
Seconda parte
Il primo quesito richiede di variare il duty-cycle del sistema di alimentazione dell'illuminatore a LED per compensare le variazioni ambientali. L'indicazione viene dal circuito di condizionamento richiesto nel punto 1 della prima parte che fornisce un segnale in tensione di 10 Volt per 15uW di potenza luminosa. Al valore corretto di 9uW corrispondono 6 Volt e ad 1uW 0,667 Volt. Il valore del duty-cycle si può modificare così:
`d = 60-(P-9)*5`
dove il duty-cycle d è espresso in forma percentuale e P è la potenza in uW (confrontata con i 9uW desiderati). Questo valore può essere utilizzato per pilotare l'alimentazione dell'illuminatore, ad esempio utilizzando un'uscita digitale5) del PLC con la tecnica PWM.
Il secondo e il quarto quesito sono argomenti di Sistemi Automatici.
Il terzo quesito chiede di descrivere un alimentatore switching con topologia flyback già visto in quarta.
Risorse
Sulle termocoppie:
- termocoppie e i link in fondo al paragrafo
- pagina 14 questo di questo datasheet di un sensore integrato di temperatura simile all'LM35
- application note e datasheet della AD sull'uso dell'amplificatore con compensazione del giunto freddo 595/594
- integrato della Linear per la sola compensazione del giunto freddo e Application Notes
- dispense su misure e trasduttori di temperatura
- application note Agilent su termocoppie (ma anche RTD e NTC)
- un integrato più moderno, l'AD8494 e la sua evaluation board


