Seconda prova 2017
Risorse
Operazioni preliminari
Funzionamento:
- selezione di una tra tre ricette (diversa miscela di 2 farine) in base a codice sul carrello
- nastro trasportatore con carrelli per impasto
- avanzamento
- erogazione (farina, lievito e acqua) carrello A
- avanzamento
- mescolatore A
- quando carico il carrello B finisce la mescolazione di A e si prosegue
Cose poco chiare:
- per quanto tempo viene mescolato l'impasto? termina quando è pronta l'erogazione del carrello successivo?
- come è codificata la ricetta e come si legge il codice? Letta da operatore e inserita tramite pannello HMI? codice a barre? lettore ottico a due bit?
- cosa avviene dopo l'erogazione B? arriva un carrello C, ecc.?
Ingressi digitali:
- pulsante START
- pulsante STOP (arresto e annullamento ricetta)
- presenza carrello a inizio nastro
- presenza carrello erogatore farina
- presenza carrello mescolatore
Ingressi analogici:
- cella di carico farine 0-10V (0-100N o 0-10kg)
- cella di carico acqua 0-10V (0-100N o 0-10kg)
- ultrasuoni farina tipo 1 0-10V (livello min-max)
- ultrasuoni farina tipo 1 0-10V (livello min-max)
Uscite digitali:
- erogatore farina tipo 1
- erogatore farina tipo 2
- erogatore lievito
- erogatore acqua
- mescolatore
- motore nastro
Timer:
- 5s erogatore lievito
Allarmi:
- arresto se livello minimo in uno dei due serbatoi farine
- riavvio automatico se riempito fino al livello massimo
Richieste:
- dispositivi necessari e segnali di controllo (indicando i valori)
- SFC e ladder per azionamento nastro e impasto
- descrivere selezione ricetta
- elaborazione statistiche (% di impasti per ricetta)
Richieste seconda parte:
- gestione serbatoi (arresto/riavvio)
- progetto segnalazione luminosa
Domanda 1
PLC per realizzare automatismo.
Pulsanti NA per START e NC per STOP.
Microinterruttori per presenza carrello; NA per inizio nastro (consenso avvio), NC per gli altri (blocco). In alternativa sensori di prossimità PNP alimentati con tensione compatibile con quella degli ingressi del PLC (24V DC).
Celle di carico 0-10V → valore numerico dall'ADC del PLC → normalizzato e scalato per avere un numero reale il cui valore è il peso in kg.
Ultrasuoni 0-10V → valore numerico dall'ADC del PLC → normalizzato per avere un numero reale tra 0 e 1. Possono essere condizionati con un comparatore con isteresi (2 soglie). Le due soglie coincidono con i valori limite dell'ADC e conviene siano leggermente ridotte (ad es 0,1 e 9,9).
Tre erogatori con elettrovalvole/solenoidi con bobina in bassa tensione.
Mescolatore azionato da contattore con motore che lavora con tensione di rete.
Nastro trasportatore azionato da contattore con motore che lavora con tensione di rete.
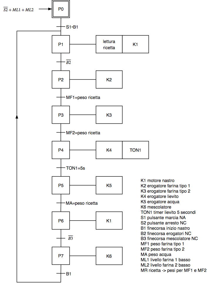
SFC
Un possibile diagramma è questo (segue spiegazione):
La freccia a sinistra del passo zero indica un'espressione che se verificata riporta l'automatismo al passo 0, qualunque sia la condizione del sistema. Questa espressione serve a tener conto delle condizioni di anomalia rispetto al normale ciclo di lavoro; in questo caso:
- la pressione del pulsante di stop (NC)
- il livello di farina basso nel serbatoio 1
- il lovello di farina basso nel serbatoio 2
L'espressione è un OR (somma logica) delle tre condizioni. Al verificarsi di una di queste il sistema torna nello al passo zero e si fermano nastro, erogazione ingredienti e mescolatore.
La transizione dal passo 0 al passo 1 avviene se è premuto S1 e (AND, prodotto logico) il carrello è a inizio nastro (B1). Quelle successive se il peso, contenuto nei merker (variabili) MF1, MF2 e MA raggiunge quello indicato nella ricetta o se il timer ha contato 5 secondi.
Nei vari stati si attivano le azioni relative al carrello A ma anche la mescolazione per un eventuale altro carrello - se presente, come segnalato da B3 - che avviene contemporaneamente. In questa soluzione si è supposto che quando un carrello è posizionato a inizio nastro l'altro raggiunge esattamente la posizione del mescolatore (la traccia non è per niente chiara su come si muovono i carrelli e come entrano/escono da questa parte di impianto).
Alternativa più ragionevole, con mescolatore attivo al termine dell'erogazione ingredienti fino all'avvenuto carico di un nuovo carrello, segnalata da B1.
Ladder
Da fare in classe
Navigazione
Torna all'indice.


